Načítavam, čakajte prosím ...
Ochrana pred bleskom a s ním súvisiacim nebezpečenstvom požiaru

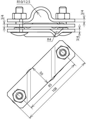
Pripojovacia svorka pre hl. uzemňovač, Cu, D 20mm

pre priem. 7-10mm/opasok40mm

32,64 € s DPH / ks
ks
Na objednávku
Kód: 620017
Materiál: Cu
Materiál skrutky/matice: StSt
Rozsah upínania (lanko / kábel): 35-95
Rozsah upnutia Rd / Fl: 7-10 / -40
Skratový prúd (striedavý 50 Hz / jednosmerný prúd): 29.0
Skrutka: e M10 x 35
Štandardné: EN 62561-1
Typ pre uzemňovacie tyče: Ø20
Hmotnosť: 0,43 kg

Dokumenty na stiahnutie