Načítavam, čakajte prosím ...
Ochrana pred bleskom a s ním súvisiacim nebezpečenstvom požiaru

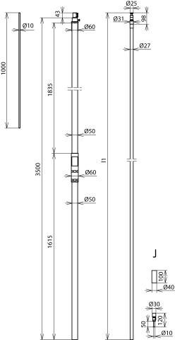
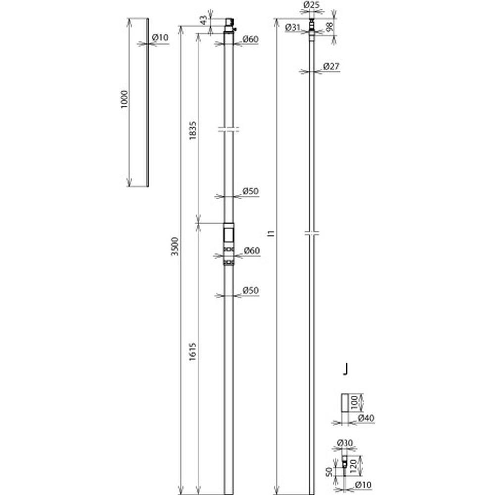
Vodič HVI D 20mm s nosnou rúrkou

L 4700mm a zachytávačomL 2500mm a stativem -SET-

1 343,92 € s DPH / ks
ks
Na objednávku
Kód: 819430
Charakteristika plášťa: UV stabilised and weather resistant
Dĺžka nosnej rúrky: 3500
Dĺžka odvzdušňovacieho hrotu: 1000
Ekvivalentná vzdialenosť s (vo vzduchu): ≤ 90
Farba RAL: similar to 9011
Farba vodiča: black ●
Materiál izolácie: PE
Materiál koncovky vzduchovej koncovky: StSt
Materiál nosnej rúrky: GRP / StSt
Materiál plášťa: PE
Materiál spojovacieho prvku: StSt
Materiál vodiča: Cu
Max. rýchlosť nárazového vetra (montáž na stenu, 1x HVI power vo vnútri): 235
Max. voľná dĺžka so vzduchovou koncovkou (montáž na stenu): 3500
Maximálna dĺžka objednávky: 35
Minimálna dĺžka objednávky: 6
Nosná trubica: 50 x 4
Priemer koncovky: 10
Priemer Ø vodiča: 27
Prierez jadra: 25
Schopnosť prenosu bleskového prúdu: H2 / 200 kA
Transportná dĺžka: 3500
Vhodné na inštaláciu mimo nosnej rúrky: no
Hmotnosť: 16 kg

Dokumenty na stiahnutie