Načítavam, čakajte prosím ...
Ochrana pred bleskom a s ním súvisiacim nebezpečenstvom požiaru

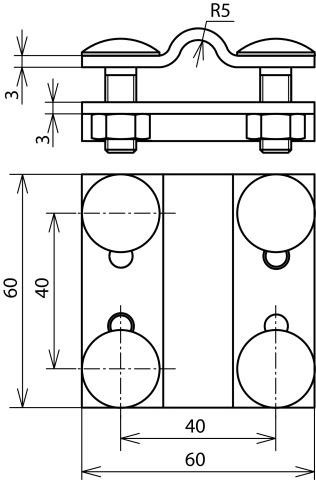
Krížová svorka FeZn, pre priem. 8-10/pások 30mm

Krížová svorka s vratovou skrutkou pre spoje do zeme, ale aj na povrchu. Krížové a "T" spojenie vodičov. Prevedenie s ochranou proti pretočeniu pre montáž jedným kľúčom. Prevedenie bez medzidoštičky, pre drôt a pás. Materiál svorky FeZn. Rozsah svork

7,23 € s DPH / ks
ks
Na sklade 67 ks
Kód: 318205
Materiál skrutky/matice: St/tZn
Materiál svorky: St/tZn
Rozmery: 60 x 60 x 3
Rozsah upnutia Fl / Fl: 30 / 30
Rozsah upnutia Rd / Fl: 8-10 / 30
Schopnosť prenosu bleskového prúdu (10/350 µs): = *)
Skratový prúd (striedavý 50 Hz / jednosmerný prúd): 14
Skrutka: e M8 x 25
Štandardné: EN 6561-1
Zinkový povlak podľa. EN 1461: ≥ 70
Hmotnosť: 0,25 kg

Dokumenty na stiahnutie