Načítavam, čakajte prosím ...
Ochrana pred bleskom a s ním súvisiacim nebezpečenstvom požiaru

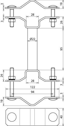
Držiak pre zachytávajúce tyče D 40 mm

S dištančnou vložkou, na vykompenzovanie rozmeru anténnych držiakov.

61,30 € s DPH / ks
ks
Na objednávku
Kód: 105162
Dĺžka rozpery: 95
Materiál: StSt
Materiál skrutky: StSt
Rozsah upínania pre nosnú rúrku: 40-50
Rozsah upnutia pre Ø potrubia: 45-65 mm (1 1/2-2'')
Skrutka: e M8 x 45 / e M8 x 70
Štandardné: EN 62561-1
Hmotnosť: 0,6 kg

Dokumenty na stiahnutie