Načítavam, čakajte prosím ...
Ochrana pred bleskom a s ním súvisiacim nebezpečenstvom požiaru

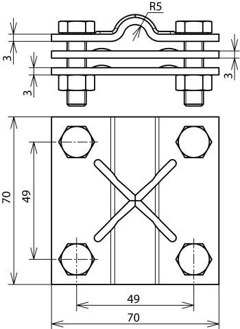
Krížová svorka FeZn pre priem.8-10/pások 30-40mm

opasok 30-40/30-40mm, s medzidoštičkou

10,40 € s DPH / ks
ks
Na objednávku
Kód: 321045
Materiál skrutky/matice: St/tZn
Materiál svorky: St/tZn
Medziplatnička: yes
Rozmery: 70 x 70 x 3
Rozsah upnutia Fl / Fl: 30-40 / 30-40
Rozsah upnutia Rd / Fl: 8-10 / 30-40
Schopnosť prenosu bleskového prúdu (10/350 µs): = *)
Skratový prúd (striedavý 50 Hz / jednosmerný prúd): 12.6
Skrutka: di M8 x 30
Štandardné: EN 62561-1
Zinkový povlak podľa. EN 1461: ≥ 70
Hmotnosť: 0,42 kg

Dokumenty na stiahnutie